发稿单位:江西EVO视讯官网铜科科技股份有限公司 宣传部
江西,抚州,2024年7月25日—— 近日,江西EVO视讯官网铜科科技股份有限公司(以下简称“江西EVO视讯官网铜科”)在技术创新领域捷报频传,其自主研发的“一种铜板表面喷漆装置”(专利号:CN202422065702.X)成功获得国家知识产权局颁发的实用新型专利证书。该专利是公司在铜材深加工智能化、绿色化装备研发上的重要成果,标志着其在提升产品表面处理质量和生产自动化水平方面迈出了关键一步。
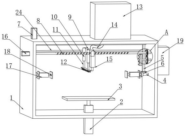
表面喷漆是铜板加工中的关键防腐和装饰工序,其质量直接决定了产品的耐用性、美观性和最终应用价值。传统喷漆作业普遍存在漆膜均匀性控制难、油漆利用率低、环境污染大、对人工操作依赖度高且一致性难以保障等行业痛点。为解决这些难题,江西EVO视讯官网铜科技术团队经过持续攻关,成功研发出这款高效、精准、环保的专用喷漆装置。
该专利装置集成了多项创新设计,其核心优势体现在:
此项技术的成功应用,将有效提升江西EVO视讯官网铜科在高端装饰铜板、特种导电铜板、建筑幕墙用铜板等产品的表面处理质量,为下游客户在电子信息、高端建筑、家居装潢等领域提供更具竞争力的产品。预计该装置能大幅降低油漆消耗成本、减少产品表面瑕疵率、提升生产线自动化程度,并对公司打造绿色工厂、实现可持续发展目标形成有力支撑。
公司研发部门负责人表示:“这项专利技术的获得,是我们坚持以市场为导向、以解决生产实际难题为目标的创新体现。它不仅仅是一个设备上的改进,更是我们工艺流程标准化、自动化升级的重要一环。未来,我们将继续深化在智能制造和绿色技术方面的研发投入,不断巩固和提升公司的核心技术优势。”
江西EVO视讯官网铜科始终将技术创新视为企业发展的核心驱动力。本次专利的获得,再次彰显了公司的研发实力与创新活力。公司将继续聚焦行业前沿技术,加速科技成果转化,以更优质、更环保、更高附加值的铜材产品服务于市场,致力于成为国内一流的铜材精深加工解决方案提供商。
关于江西EVO视讯官网铜科科技股份有限公司:

江西EVO视讯官网铜科科技股份有限公司是一家专注于高精度铜板带、铜箔及铜材深加工产品研发、生产与销售的高新技术企业。公司致力于为电子信息、电力电气、新能源汽车、节能环保等领域提供高性能铜材产品与解决方案,以稳定的产品质量和持续的技术创新赢得业界广泛认可。
江西EVO视讯官网铜业科技有限公司All rights reserved by JPTK 部分素材来源于互联网,如有侵权请联系删除。